Газовые котлы каталог BAXI (БАКСИ)
Где купить
ГлавнаяПродукцияГазовые котлы
Газовые котлы

Здесь вы можете рассмотреть бытовые котлы, предназначенные для автономного обогрева жилых площадей. В ассортименте итальянской компании BAXI десятки эффективных моделей, работающих на природном газу. В наличии настенные и напольные типы, среди которых вы сможете выбрать нужную модель по размеру и мощности.

Отопительное оборудование бренда BAXI обладает международными сертификатами качества и экологичности ISO, поэтому на них можно смело положиться в самую морозную зиму и не беспокоиться о безопасности.

Возможно ли управление газовым котлом BAXI через интернет? +
Да. Для удаленного управления котлами BAXI может использоваться, например, устройство BAXI Connect+.
Также можно использовать другие, работающие по цифровой шине. Такие устройства обеспечивают повышенный комфорт и безопасность, позволяют экономить газ и информируют пользователя о возможных проблемах с котлом или системой отопления.
Какую температуру горячей воды лучше устанавливать на котле? +
При использовании котла с проточным вторичным теплообменником обычно устанавливают такую температуру горячей воды, которую еще может выдержать рука (40 – 45°C), так как большей температуры не требуется.
Для использования горячей воды из бойлера обычно устанавливают температуру от 40 до 60°C. Температура 40°C позволяет пользоваться горячей водой практически без смешения с холодной водой. Температура 60°C позволяет иметь изначальный большой запас горячей воды, что актуально, например, при заполнении ванны или одновременной работе на несколько точек потребления.
Можно ли к двухконтурному котлу BAXI с проточным вторичным теплообменником присоединить бойлер косвенного нагрева? +
Если двухконтурный котел был приобретен ранее, а затем пользователю захотелось большего комфорта по горячей воде, то можно присоединить бойлер к двухконтурному котлу при помощи внешнего трехходового клапана.
При таком варианте имеющиеся в котле трехходовой клапан и вторичный теплообменник использоваться не будут.
Для корректного присоединения бойлера к двухконтурному котлу необходимо обратиться к специалистам.

Более простым решением является покупка одноконтурного котла, у которого уже имеется встроенный трехходовой клапан для переключения на нагрев ГВС.
Какой фильтр лучше установить в систему — с крупной или с мелкой сеткой? Какие проблемы могут возникнуть в системе при использовании сетчатого фильтра? +
Рекомендуется использовать фильтры с размером ячейки от 500 до 1000 мкм. При более мелкой сетке необходима частая промывка фильтра.
Установка фильтра (фильтров) в системе отопления для сбора шлама обязательна. Даже в новой системе будет образовываться шлам. В частности, настоятельно рекомендуется устанавливать фильтр, чтобы защитить элементы котла от попадания шлама.
Если крупные частицы грязи попадут в зауженные проходы клапанов и т. п., то это нарушит работоспособность отдельных участков системы отопления и потребует замены или ремонта этих устройств. Мелкие частицы грязи к таким негативным последствиям привести не могут, поэтому, как правило, установка фильтра в системе отопления не требуется.
Любой сетчатый фильтр, установленный в системе отопления, при наличии грязи в фильтрующем элементе изменяет характеристики системы. Если вовремя не производить очистку фильтра, то увеличивающиеся потери давления будут уменьшать расход теплоносителя. Мощность системы отопления при этом будет значительно ниже расчётной, а работа насоса будет происходить с большой перегрузкой, что может привести к его поломке. К тому же уменьшение циркуляции теплоносителя в системе может привести к локальному перегреву в теплообменнике котла и к сокращению срока его службы.
Чтобы предотвратить вышеперечисленные проблемы, вместо обычных сетчатых фильтров в систему отопления также могут быть установлены фильтры-отстойники (дешламаторы). В их корпусе предусмотрена зона для осаждения улавливаемых частиц грязи и сливной кран для их удаления.

Пример сетчатого фильтра


Пример дешламатора

Можно ли выводить коаксиальные трубы на фасады домов? +
Согласно действующим нормативам, в частных домах коаксиальные трубы через боковые стены разрешено выводить, а в многоквартирных домах — нельзя.
В разных регионах РФ могут действовать различные нормативные требования.
Чему равна минимальная высота помещения для установки теплогенератора (настенного котла)? +
Высота помещения должна быть не ниже 2,5 м для котлов с открытой камерой сгорания.
Для котлов с закрытой камерой сгорания требования по минимальной высоте помещения для частных жилых домов не указаны. Если котел с закрытой камерой сгорания устанавливается вместе с газовой плитой, то требования по высоте определяются наличием газовой плиты и составляют 2,2 м (минимум).
Какое количество теплогенераторов (котлов) допускается устанавливать в одном помещении дома? +
СП 402.1325800.2018: «Допускается предусматривать установку не более двух отопительных котлов ... в одном помещении»
Допускается ли размещение теплогенераторов (настенных котлов) в ванных комнатах или в санузлах частных жилых домов? +
СП 402.1325800.2018 запрещает установку теплогенераторов в ванных комнатах и санузлах.
Можно ли заливать в систему отопления дистиллированную воду? +
Нет. Нежелательно использовать полностью деминерализованную воду для заполнения (или подпитки) системы. Такая вода в системе отопления будет иметь коррозионные свойства. И это может привести к значимому повреждению различных компонентов системы отопления и теплообменника котла.
Для защиты систем отопления от коррозии и накипи часто используются специальные ингибиторы (например, Sentinel X100, Fernox F1 и т. п.). При добавлении таких ингибиторов можно использовать как обычную водопроводную, так и дистиллированную воду. Перед добавлением ингибиторов систему отопления следует промыть.
Какую воду рекомендуется заливать в систему отопления? +
Лучшим теплоносителем для систем отопления является так называемая подготовленная котловая вода. Такую воду можно купить в специализированных магазинах. Эта вода избавлена от излишних солей жесткости, растворенного кислорода и примесей железа. Также эта вода имеет необходимую кислотность (pH).
Чем выше мощность котла и чем больше объем теплоносителя, тем выше требования к качеству теплоносителя.
Для бытовых систем отопления (до 35 кВт) чаще всего используют обычную водопроводную воду или питьевую бутилированную воду.
Запрещается заполнение системы отопления водой из скважины.
Требования по качеству воды для системы отопления также зависят от типа применяемых материалов (медь, сталь, алюминий), от объема системы отопления, количества поступаемой подпиточной воды и так далее.
На какое расстояние из стены на улицу может выходить наконечник коаксиальной трубы? +
Общие рекомендации.
Приток воздуха можно делать максимально близко к стене (до 20 см). Чтобы избежать образования сосулей на трубе, рекомендуется использовать наконечники, в которых приток воздуха и выброс продуктов сгорания разнесены минимум на 40 см.
Рекомендуется использовать коаксиальные трубы от BAXI с антиобледенительными наконечниками.
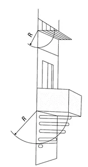
При наличии козырьков крыш либо балконов над коаксиальным выходом, для корректной работы необходимо, чтобы точка выхода продуктов сгорания выходила за пределы окружности, проведенной от края козырька крыши или балкона (см. рисунок).
Почему котел BAXI не выключается, хотя уже нагрел теплоноситель до заданной температуры? +
Это корректная работа котла. Если теплопотери помещения больше, чем минимальная мощность котла, то котел может работать постоянно, поддерживая заданную температуру.
Если же теплопотери помещения ниже минимальной мощности, то котел продолжает работать на минимальной мощности до тех пор, пока реальная температура не превысит заданную на 5 градусов. Затем горелка отключится. Горелка включится снова, когда температура опустится ниже заданной, но не ранее, чем через время задержки, установленное в параметрах котла (чаще всего время задержки составляет 3 минуты).
Возможно ли перенастроить котел BAXI на сжиженный газ? +
Да, котлы BAXI могут работать на сжиженном газе. Работы по перенастройке должны выполняться квалифицированным специалистом.
Подробный порядок перевода котла на сжиженный газ описан в руководствах по установке и эксплуатации.

Для всех котлов стандартной эффективности требуется:
- заменить комплект инжекторов (не входят в комплект поставки);
- изменить необходимые параметры;
- механически отрегулировать газовый клапан при помощи газового манометра.


Инжекторы (форсунки) для котлов серии LUNA-3
Для бытовых конденсационных котлов BAXI замена компонентов не требуется.

Требуется:
- изменить необходимые параметры;
- запустить автоматическую калибровку газового клапана (если это указано в инструкции).
Что нужно сделать, если объем системы отопления превышает возможности встроенного расширительного бака? +
Необходимо установить дополнительный расширительный бак соответствующего объема.
Можно ли подключить к котлам BAXI датчик уличной температуры? +
Да, все котлы BAXI, кроме Slim HPS, имеют специальный разъем для подключения датчика наружной температуры. При подключении датчика котел автоматически начнет регулировать температуру теплоносителя в зависимости от погоды на улице.
Что произойдет с котлом BAXI при отключении газа? +
Прекращение подачи газа вызовет блокировку котла.
При возобновлении подачи газа перезапуск котла возможен только после ручного сброса ошибки.
Если есть необходимость избежать блокировки котла в случае прекращения подачи газа, то можно на входе в котел установить реле минимального давления газа.  Реле минимального давления газа при понижении давления, ниже установленного на нем, прекратит подачу электроэнергии на котел. Далее, когда подача газа возобновится, контакты реле снова замкнутся, на котел снова поступит электропитание, и котел автоматически включится и продолжит работать на последнем установленном режиме.
Что произойдет с котлом BAXI при отключении электропитания? +
При отключении электроэнергии котел выключается, а при возобновлении подачи электричества автоматически включится в работу и будет работать на последнем установленном режиме.
Следует обратить внимание, что при возобновлении подачи электропитания зачастую в электросети происходят скачки напряжения. По этой причине котел может уйти в ошибку, которую нужно будет сбрасывать вручную, а в более критических случаях даже автоматика котла может выйти из строя. Для того чтобы котел корректно возобновлял свою работу, рекомендуется использовать инверторный стабилизатор напряжения.
Каковы температурные условия эксплуатации котлов BAXI? +
Конструкция котлов BAXI обеспечивает их бесперебойную эксплуатацию (в том числе первый заnуск) при температуре окружающего воздуха от +5° до +35 ° C. Условия эксплуатации котлов BAXI определяются технической документацией на соответствующие котлы.
Какой срок службы у газовых котлов BAXI? +
Срок службы газовых котлов BAXI составляет десять лет. В течение всего срока службы изделия компания ООО «БДР Термия Рус» берет на себя обязательства по обеспечению запасными частями к данному изделию.
Реальный срок жизни газовых котлов зависит от условий эксплуатации и обслуживания.
Примерный срок жизни настенных котлов составляет 10-15 лет, а напольных чугунных котлов — 15-20 лет.
Срок службы не связан с гарантийными обязательствами, которые берет на себя компания BAXI. Гарантийный срок на газовую продукцию компании BAXI, как правило, составляет 2 года и может быть увеличен по согласованию с сервисными организациями.
После окончания срока службы изделия завод-изготовитель вправе отказать в поставке запасных частей к данному изделию (если прошло более 10 лет с момента снятия изделия с производства).
Где рекомендуется устанавливать датчик наружной температуры? +
Датчик наружной температуры устанавливается на наиболее холодном и подверженном воздействию атмосферных условий наружном фасаде здания (северная или северо-западная часть), причем он не должен находиться в зоне воздействия солнечных лучей.
Его следует установить на углу или ровной поверхности фасада здания (по умолчанию), чтобы он находился под прямым воздействием метеорологических условий.
Датчик НЕ должен устанавливаться в защищенном месте, нише или под балконом. Он не должен подвергаться воздействию источников тепла или холода, связанному с открыванием дверей или окон или с вентиляцией.

Рекомендуемое расположение датчика наружной температуры.




Не рекомендуемые расположения датчика наружной температуры.



Обратная связь

Подбор и приобретение оборудования/запасных частей осуществляется только через официальных дилеров или сервисные центры. Списки представлены на страницах:

https://baxi.ru/sales/dealers/ https://baxi.ru/service/centers/
Нажимая на кнопку "Отправить", Вы соглашаетесь с нашей политикой конфеденциальности

Ваше сообщение отправлено.